本文由第三方AI基于17173文章http://game.17173.com/content/2010-10-11/20101011161354980.shtml提炼总结而成,可能与原文真实意图存在偏差。不代表网站观点和立场。推荐点击链接阅读原文细致比对和校验。
任天堂Wii新专利:用呼吸来进行游戏
2010-10-11 00:00:00
神评论
17173 新闻导语
来源:A9 任天堂关于WiiVitalitySensor的某项专利判明。从这个特许中或许可以看到WiiVitalitySensor制作游戏的一些可能性,WiiVitalitySensor是早在09年e3上就公布,可以将手指插入的控制器。可以检测出脉搏及血液含氧量等数据。在特
来源:A9
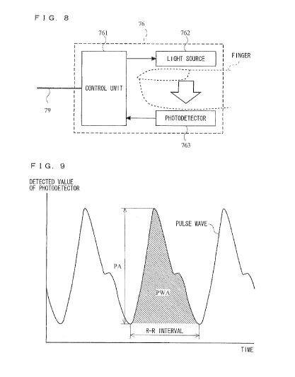
任天堂关于Wii Vitality Sensor的某项专利判明。从这个特许中或许可以看到Wii Vitality Sensor制作游戏的一些可能性,Wii Vitality Sensor是早在09年e3上就公布,可以将手指插入的控制器。可以检测出脉搏及血液含氧量等数据。在特许中介绍了测定手指在光照下测试血液含氧量的方法。
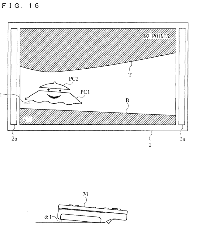
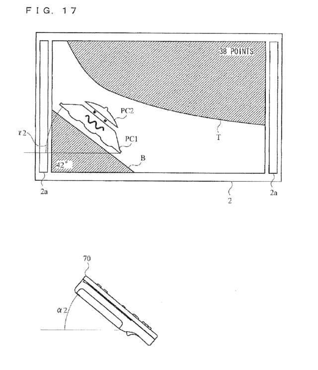
而这个周边如何利用于游戏呢,本次的特许中介绍了一个未来的游戏例子,这是一个操作浮在空中的主人公穿过通道的游戏主人公的头部(帽子)会随着呼吸的节奏上下。呼吸急促时,可以躲避障碍通过狭窄的通道,而在广阔的空间,就需要比较轻松的呼吸方式。而呼吸的节奏就可以通过检测血液含氧量来分辨。当然这只是Wii Vitality Sensor的一个例子,我们也期待Wii Vitality Sensor所带来全新的游戏体验。





【编辑:17173.com】
关于Wii的新闻
- (2013-12-01) 外媒评Wii mini:一款失败的廉价游戏机
- (2013-10-22) 一代经典完结 任天堂Wii于日本宣告正式停产
- (2013-10-02) Wii将于近期逐渐停产 全球销量破亿
- (2013-07-05) Wii用MD模拟器Genesis Plus下载及使用教程
- (2012-07-10) 任天堂为Wii U和3DS设立统一帐户系统
版本专题
相关资讯
热门测试游戏
17173发号
精华推荐
