本文由第三方AI基于17173文章http://game.17173.com/content/2010-08-06/20100806141757187.shtml提炼总结而成,可能与原文真实意图存在偏差。不代表网站观点和立场。推荐点击链接阅读原文细致比对和校验。
Kinect专利曝光:深入了解体感识别
2010-08-06 00:00:00
神评论
17173 新闻导语
据报道,近日一份关于微软向美国专利商标局提交的Kinect专利申请被公开。通过这项专利我们可以进一步了解这款体感外设的工作原理。这份专利申请提交于2009年2月23日,被形容为可以手势键盘(gesturekeyboarding)。意思就是说,Kinect摄像头可以捕捉到用户的手势
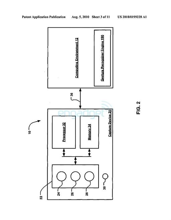
据报道,近日一份关于微软向美国专利商标局提交的Kinect专利申请被公开。通过这项专利我们可以进一步了解这款体感外设的工作原理。
这份专利申请提交于2009年2月23日,被形容为可以手势键盘(gesture keyboarding)。意思就是说,Kinect摄像头可以捕捉到用户的手势动作,再把这些手势语言转换成游戏控制。
具体来说,Kinect借助PrimeSense软件和摄像头侦测、捕捉用户手势动作,然后再将捕捉到的影像与本身内部存有的人体模型相对照。每一个符合内部已存人体模型的物体就会被创造成相关的骨骼模型,系统再将该模型转换成虚拟角色,该角色通过识别该人体骨骼模型的关键部位进行动作触发。
在虚拟骨骼模型的帮助下,系统可识别人体的25个关键部位。
微软通过对33DV systems公司的收购得到了后者的摄像头识别技术,并在此基础上加入了识别人体站立/坐姿的新技术。
Kinect将在11月上市,单独销售149.99美元,绑定Arcade版Xbox 360后的售价为299美元。

骨骼模型

内部系统组成

【编辑:17173.com】
关于Kinect的新闻
- (2013-12-27) Kinect之父开发穿戴设备 欲运行Windows
- (2013-12-24) 花360元3D打印出迷你自己 用Kinect扫描
- (2013-12-23) 无触觉音乐系统让你用舌头和面部演奏乐曲
- (2013-12-21) 微软追送500个开发者预览版Kinect套件
- (2013-12-21) 传Kinect之父正研发Windows穿戴式设备
版本专题
相关资讯
今日头条
热门测试游戏
17173发号
精华推荐